Gudang Informasi

Tattoo Machine Diagram - Dragonhawk Tattoo Supply Tattoo Kits Tattoo Supplies Tattoo Machines - Find professional grade tattoo machines and accessories for all aspects of tattooing here at national tattoo.

Tattoo Machine Diagram - Dragonhawk Tattoo Supply Tattoo Kits Tattoo Supplies Tattoo Machines - Find professional grade tattoo machines and accessories for all aspects of tattooing here at national tattoo.
Tattoo Machine Diagram - Dragonhawk Tattoo Supply Tattoo Kits Tattoo Supplies Tattoo Machines - Find professional grade tattoo machines and accessories for all aspects of tattooing here at national tattoo.

Tattoo Machine Diagram - Dragonhawk Tattoo Supply Tattoo Kits Tattoo Supplies Tattoo Machines - Find professional grade tattoo machines and accessories for all aspects of tattooing here at national tattoo.. We get people calling and emailing us all the time that are unable to identify a part so we figured we There is no specific or special tattoo sterilization equipment. This diagram shows the survival rates in case of an airplane crash. Major advantages to this type of machine is that they're lightweight and safe to use in an autoclave. The tattoo needles are set at the end of what is.

This video is part 2 of the how to make coils set. The dragonfly is a state of the art rotary based tattoo machine with features that gives it several advantages compared to other tattoo machines. Learn how to trouble shoot your own faulty coils and. Electromagnets help your tattoo machine turn on and off by pulling down the armature bar. 3 2 the armature bar is drawn toward the magnet.

Tattoo Machine Scheme High Res Stock Images Shutterstock
Tattoo Machine Scheme High Res Stock Images Shutterstock from image.shutterstock.com
Firefly tattoo machine imported rotary motor the rotary tattoo machine tattoo gun. Learn how to trouble shoot your own faulty coils and. This video is part 2 of the how to make coils set. The main difference is that there is a yoke on this machine to raise the coils to the appropriate height. When this magnetic field is activated,. When the circuit is interrupted, the needle goes back up. The brace will support the tube when it's attached to the machine motor for the tattoo gun. The design is fairly simple and consists of three primary parts:

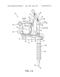
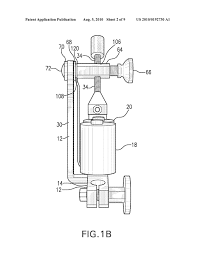
Armature bar, assembly, build, building, coil tattoo machine, diagram.

Whether you simply need a missing screw, are in search of a replacement motor or cam for your rotary machine, or need a new coil set, kingpin has you. This diagram represents a k model machine that has had the stroke length. The tattoo needles are set at the end of what is. On average, the needle shouldn't exceed the tip more than 2 mm and no less than 1 mm. Dragonhawk mast tour rotary tattoo pen machine cartridges gun 3.5 inches wq366. How to work a tattoo machine 2 operating a tattoo machine when the armature bar springs back up, the contact points touch each other and make a circuit again. The diagram shows a typical ms windows domain security network environment. If you ask for a tattoo autoclave for sale you are also asking for a medical autoclave. This rotary machines are famous for their punch, control and moreover customization potential on the artwork to bring a articulated design on the skin. Learn how to wire shrink tube and solder lug coils. Above, i have provided a side view of a tattoo machine with the technical terms for each component. Autoclave machines are 100% perfect for medical and tattoo use as they both accomplish the same goal. This video is part 2 of the how to make coils set.

And the end of the machine, which is primarily for balance. Now the contact points separate from each other, This diagram represents a k model machine that has had the stroke length. The main difference is that there is a yoke on this machine to raise the coils to the appropriate height. It moves like a sewing machine, and works by means of an electromagnet.

Machines And Power Sources Successful Tattooing Tattoo Magic
Machines And Power Sources Successful Tattooing Tattoo Magic from www.tattoomagic.info
Here is a picture gallery about tattoo machine wiring diagram complete with the description of the image, please find the image you need. Recently for an improvement and upgrade, an armature bar (a characteristic of coil machine) is included to increase its efficiency. Firefly tattoo machine imported rotary motor the rotary tattoo machine tattoo gun. The brace will support the tube when it's attached to the machine motor for the tattoo gun. Rotary tattoo machine, professional strong motor shading lining tattoo machines. This is done when the machine is connected into a power source and turned on, a full electrical. Electromagnets help your tattoo machine turn on and off by pulling down the armature bar. How to work a tattoo machine 2 operating a tattoo machine when the armature bar springs back up, the contact points touch each other and make a circuit again.

We are proud to present the dragonfly tattoo machine.

This diagram represents a k model machine that has had the stroke length. The gun's power comes from the coils. Electric energy alternates between positive and negative charges by means of a capacitor. On sunday 18 of november 2012, i was giving a seminar on coil tattoo machine assembling and tuning at evolution tattoo shop in oxford, it was a real great day we were a small group of professional tattoo artists, everyone got the chance to pick up his tattoo machine frame and choose some coils and parts and choose the springs and capacitor needed to. Control device for a tattoo machine and tattoo system diagram. Armature bar, assembly, build, building, coil tattoo machine, diagram. This product is high quality and guaranteed to never shrink, crack, or peel. It moves like a sewing machine, and works by means of an electromagnet. Above, i have provided a side view of a tattoo machine with the technical terms for each component. And the end of the machine, which is primarily for balance. If you ask for a tattoo autoclave for sale you are also asking for a medical autoclave. We used a hildbrandt.444 marlin for the picture, all our other machines are of a similar setup with the exception of the geometry. Electromagnets help your tattoo machine turn on and off by pulling down the armature bar.

This rotary tattoo machines are based on the rotary technology which use an electric motor to drive the needles. Read more 2/8/2017 6:13 pm by dragonhawk cartridge , rotary tattoo machine , tattoocartridge , 0 comments tattoo instruction video Which the tattoo artist grips and which holds much of the working parts; In the main section are the real 'works' of the. Whether you simply need a missing screw, are in search of a replacement motor or cam for your rotary machine, or need a new coil set, kingpin has you.

Rotary Vs Coil Tattoo Machine Bestadvisor
Rotary Vs Coil Tattoo Machine Bestadvisor from cdn.bestadvisor.com
The dragonfly is a state of the art rotary based tattoo machine with features that gives it several advantages compared to other tattoo machines. Sterilize your equipment that penetrates the human skin. Designed with the tattoo artist in focus and manufactured with the highest quality materials and components available. Recently for an improvement and upgrade, an armature bar (a characteristic of coil machine) is included to increase its efficiency. In this video, you will see how to install rotary tattoo machine with cartridge.it is very easy,only in mins,follow us. Set these to the preferable length, and tighten the 2 screws on the grip. The holy ghost electric show tattoo machine assembly diagram. Whether you simply need a missing screw, are in search of a replacement motor or cam for your rotary machine, or need a new coil set, kingpin has you.

On sunday 18 of november 2012, i was giving a seminar on coil tattoo machine assembling and tuning at evolution tattoo shop in oxford, it was a real great day we were a small group of professional tattoo artists, everyone got the chance to pick up his tattoo machine frame and choose some coils and parts and choose the springs and capacitor needed to.

We used a hildbrandt.444 marlin for the picture, all our other machines are of a similar setup with the exception of the geometry. Here is a picture gallery about tattoo machine wiring diagram complete with the description of the image, please find the image you need. Tattoo machine building & tuning seminar. Designed with the tattoo artist in focus and manufactured with the highest quality materials and components available. Which the tattoo artist grips and which holds much of the working parts; The tattoo machine works very much like a powered artist's paintbrush, delivering paint to a living canvas. Diagram of a tattoo machine full body tattoo designs upper back tattoo. How to work a tattoo machine 2 operating a tattoo machine when the armature bar springs back up, the contact points touch each other and make a circuit again. The holy ghost electric show tattoo machine assembly diagram. 3 2 the armature bar is drawn toward the magnet. Kubin rotary tattoo machine 2018. Set these to the preferable length, and tighten the 2 screws on the grip. In the main section are the real 'works' of the.

Advertisement